寰风?浠??鸿??PM?规?锛?涓鸿??ュ??浜???缃? APP 绛?????′????茬嚎
??????? ?ㄥ?涓?锛?涓??借?楂?娓?瑙?棰?浜т?瑙?妯″凡????绐???.5涓?浜垮??澶у?炽???峰?楂??插????楂??ㄦ?????翠互??楂???杈ㄧ????4K/8K瑙?棰?涓??℃?绋虫??ㄨ?锛?瑙?棰?娑?璐瑰?烘???浠?浼?缁????规??ā寮?锛?????????VR浜や???澶?瑙?瑙??存???娌?娴稿?浣?楠??瑰??杩?绉汇???ㄦ?杩?绋?涓??浜???缃?瑙?棰?琛?涓?涓?浠??ㄦ??????寮?涓?缁???娣卞?诲???╋???绠℃??朵???姝ラ??????涓?姝ゅ???讹?????寮?AI??瀹瑰??姣?绐???0%锛??辨?甯︽?ョ???婚?㈤?昏?缂洪?凤?浠ュ???ㄧ???版??富??绔?娉??ヨ?涓ユ?肩?璇稿?????锛?瀵硅?棰?搴??ㄧ???????ц?姐????瑙??藉??浠ュ???ㄦ?蜂?楠?锛??芥????浜?涓ュ郴??????
??????? ?ㄨ??风??澶ц?????锛??藉??杩??ュ??杩?????瑕???寤轰?濂??ㄦ?逛????ㄧ淮搴︾??璐ㄩ????娴?浣?绯伙?娑电???????ц?姐???跨???瑙????ㄦ?蜂?楠?浠ュ??????????绛???涓??归???浠ユ?搴?瀵光??浣?楠?缁?娴?????绠¢?????????绔?浜?????涓?????????
??????? 寰风?浠???淇★?浣?涓?P瑙?棰???浜???缃?涓??¤川??娴?璇?棰?????涓?涓????″????锛?宸蹭??藉????澶ц?棰???瀹瑰?????℃??渚???灞?寮?骞挎???浣?锛??ㄥ??????涓?濂??峰????绘?с??绯荤??у?????╁??х??缃?缁???瑙?棰?璐ㄩ???鸿?界??娴?绯荤???
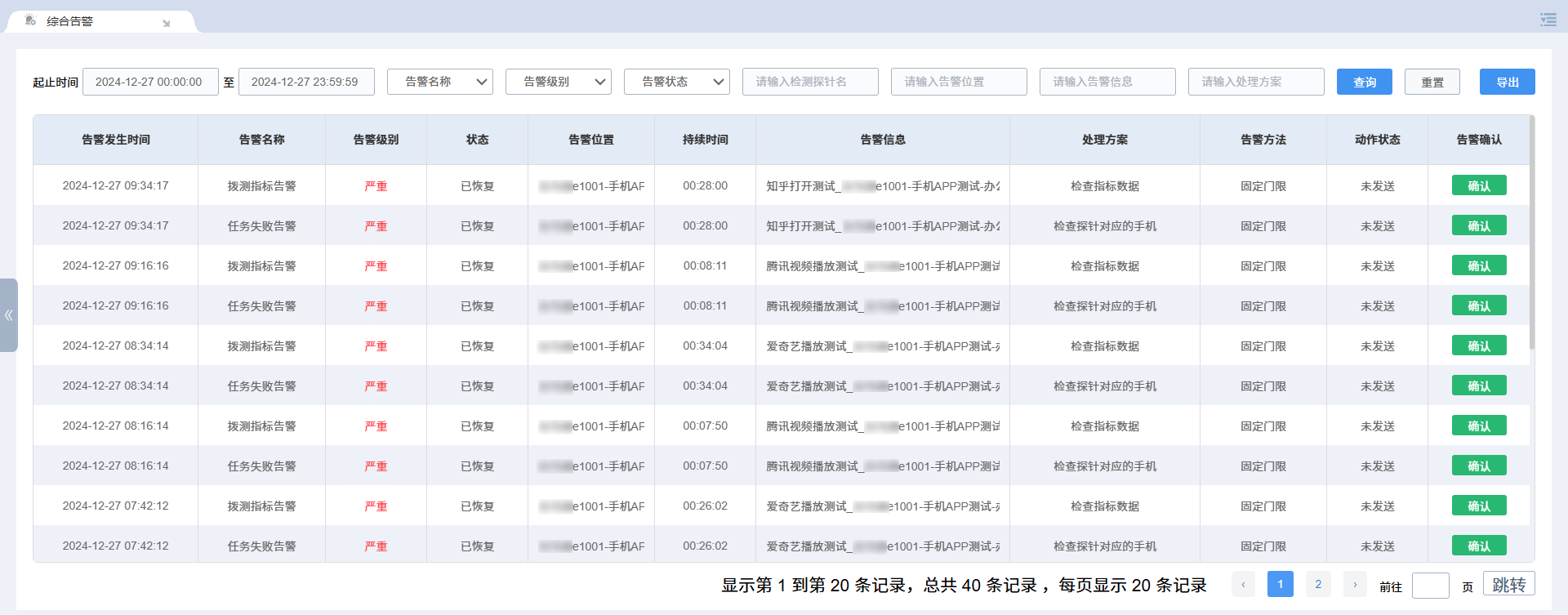
??????? 寰风?浠????鸿??PM搴??ㄦ?ц?界???骞冲?帮???杩??ㄨ?棰?CDN???板?????缃?POP?广???ㄦ?蜂晶?ㄧ讲娴?璇??㈤??锛?杩??ㄤ汉宸ユ?鸿?芥????ā???ㄦ?峰?ㄧ?瑰?缃?缁????涓???搴??ㄨ????涓猴?骞跺???绉?PC绔??????虹????鸿?借?澶?APP搴??ㄨ???川????宸??杩?琛?娴?璇???瀵规???娣卞?ュ??????璇ョ郴缁??????璇?涓??绠$??骞冲?般??杞?欢娴?璇??㈤??浠ュ??????PP娴?璇?纭??㈤??缁???锛??峰?????PP娴?璇???缃?椤佃?棰?璐ㄩ??绛?搴??ㄥ??鸿?芥?璇????斤???????浜???缃??哄?c??????缃??抽?????圭??缃?缁???搴??ㄥ?璐ㄩ??????锛?骞堕????IOps?鸿?借?缁存?????瀹??版?鸿?藉????璐ㄩ??????涓?缃?缁?浼?????

(1) 瀹???APP缁煎??娴?璇?
??????? ??瀵圭???ㄥ???APP寮?灞??ㄩ?㈡?璇?锛?娑电???ヤ???寰??????捐??伴?汇??浠??ュご?$???娴?璇???瀹瑰???????藉??存?э?濡?APP???ㄦ??寮??抽???绋???棣?灞?璧?婧???杞借?绋?锛??ц?界ǔ瀹??э?濡?HTTP??璁??婧?璐ㄩ????APP?翠?TCP娴?璐ㄩ????姣?涓?????IP??TCP娴?璐ㄩ????
(2) ?宠?棰?绫?PP???句?椤规?璇?
??????? 涓?娉ㄤ??宠?棰?绫?PP???炬?璇?锛?娑????卞??恒??浼??枫???捐?瑙?棰??????炽??蹇????????╁???╃???浠??宠?棰?璧?婧????捐?绋???HTTP??璁??婧???杞借?绋?绛??归?㈢????锛??ㄤ???缃?缁??′欢涓???澶?娴?璇?锛?纭?????炬????浼?璐ㄣ??
(3) 缃??崇?ㄦ?风?缁?璐ㄩ??娴?璇?
??????? ??瀵圭??宠?澶????ㄦ?蜂晶缃?缁?璐ㄩ??杩?琛?澶?缁村害娴?璇?锛?瑕????虹?浼?杈??ц?戒?澶????烘???????с??娴?璇???瀹瑰?????缁?浼?杈?绋冲??э?濡?绔??扮??跺欢?????????澶?涓??″?烘??ā??锛?缃?椤垫?瑙???澶ф??浠朵?杈?绛?娴???妯″??锛?锛?纭??缃??冲?ㄥ?????????涓??????″?????с??

(4) IPv6????缃?缁????????????
??????? ????????????IPv6????缃?缁????锛?涓?浠?瑕?纭????绫?PP??Pv6缃?缁?涓??芥?甯哥?诲???娴?瑙???浜や?锛?杩???娴?璇??版???杈???绋冲??т???搴︼?瀵规?IPv4涓?IPv6???????涓?PP???ц?借〃?帮?淇???APP?ㄦ?扮?缁????涓?楂???杩?琛???

(5) AI?鸿?藉?????藉????寤?/span>
??????? ????AI?鸿?藉?????藉??锛?????IOps?????哄?ㄥ?涔???澶ф?版??????绛???????拌?缁存?绋??╂?般??

??????? 绗??姝 ??????璇?????—-寮?甯告?娴?锛???杩?浜哄伐?鸿?界?娉?浠f?垮???????哄????笺???ㄦ????姣??瑰??ヨ?琛?寮?甯告?娴?锛?璇???????????浼????杈ㄥ?哄??????????????????????????????????锛???缁????ゅ????妗???锛?
??????? 绗??姝 ??蹇???瀹?浣???—-?ㄦ?峰?浣?锛?瀵逛?寮?甯告?娴?????????璀﹁?琛?蹇??????ㄦ?峰?浣?锛???瀹????????戒骇?????????版??????锛??藉?瀹??版????杩?婊わ????剁?杩?缁寸???璁惧?????褰卞?????达?涓??︽??????娉?蹇????㈠?锛??藉?蹇???杩?琛??叉?ャ??璋?搴︾?涓存?跺??ユ??娈佃?琛?姝㈡??锛?
??????? 绗??姝 ??绮惧?????烩??—-????瀹?浣?锛?????瀹?浣???绉颁负??璀﹀?宠???????纭?????规?????????锛?缁?杩????ㄦ?峰?浣???????濮??版??ぇ????灏?锛??ㄩ?ㄨ??虹????涓烘????淇℃?????杩?????瑙?娴??扮??寰???锛??惧?轰骇??杩?浜?寰???????姝e??????




