德科仕助力牌照方和运营商保障IPTV/OTT直播业务质量
随着我国IPTV和OTT互联网电视业务的快速发展,广电总局对电视大屏安全播出和质量监管越来越严格。由于高清直播业务受众较广,一旦出现内容质量或安全播出问题,造成的影响较大,因此对直播业务的异常内容的发现和及时处理尤为重要。广电牌照方向运营商提供直播节目源,不仅需要保证节目源的质量,还需要能界定用户投诉的责任问题。
为了帮助牌照方和运营商进行有效的直播业务保障,德科仕通信提供了一整套完善的直播视频质量和安全融合监测系统,可实现直播质量和安全问题的主动发现和告警,并提供质量分析和优化工具来不断完善直播业务质量。
以下是德科仕在国内某头部OTT牌照方的直播监测探针系统部署案例。通过在牌照方中心节点和各运营商分省节点机房部署万兆直播探针,可实现:对节目源入口300路高清直播节目进行内容级监测;对分发到各分省运营商的HLS直播节目码流的质量监测能力,对M3U8播放列表和TS分片内容层问题的监测和故障诊断;系统可检测出由于OTT节目源问题导致的各种视频质量问题(如马赛克、花屏、音视频不同步、节目跳片、节目循环播放等)。

一、直播监测探针整体运行情况
对牌照方向某省移动传输的103路组播节目进行实时质量监测,吞吐率稳定在770M左右。下图红框内区域标识监测的健康流数量,同时在趋势图内可查看实时和历史媒体流趋势。

下图展示为探针所监测的所有组播节目的实时播放状态,所监测的媒体流各项指标总体较为正常,部分频道会出现偶发性告警和阶段性故障告警。以时间颗粒度图块直观地展示节目的健康度状态。如下图所示:

二、直播监测探针质差频道案例分析
对组播探针监测出的告警数据进行统计分析,自动报表系统可统计出告警发生次数较多的TOP10直播频道,以及对应的故障告警类型分布情况。

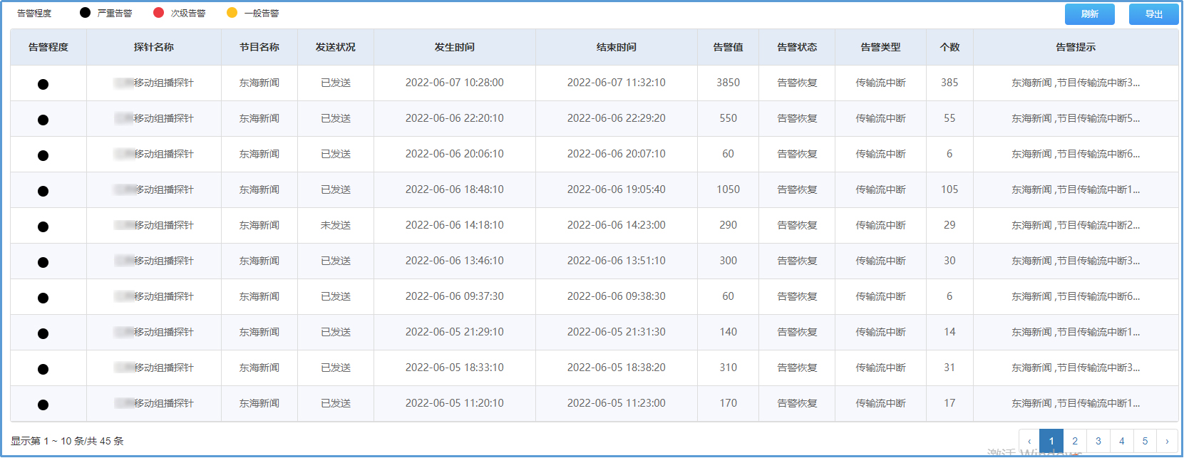
案例一:多路直播频道出现传输流中断故障排查
故障现象:通过直播质量监测系统发现新闻综合、生活、东海新闻等频道于2022-06-01 至2022-06-07期间频繁出现传输流中断告警。

故障排查:经抓包排查发现多路频道的编码异常,导致传输流中断。经过编码器厂家排查发现频道确实不稳定,频繁告警,后经调整没有断流告警了。
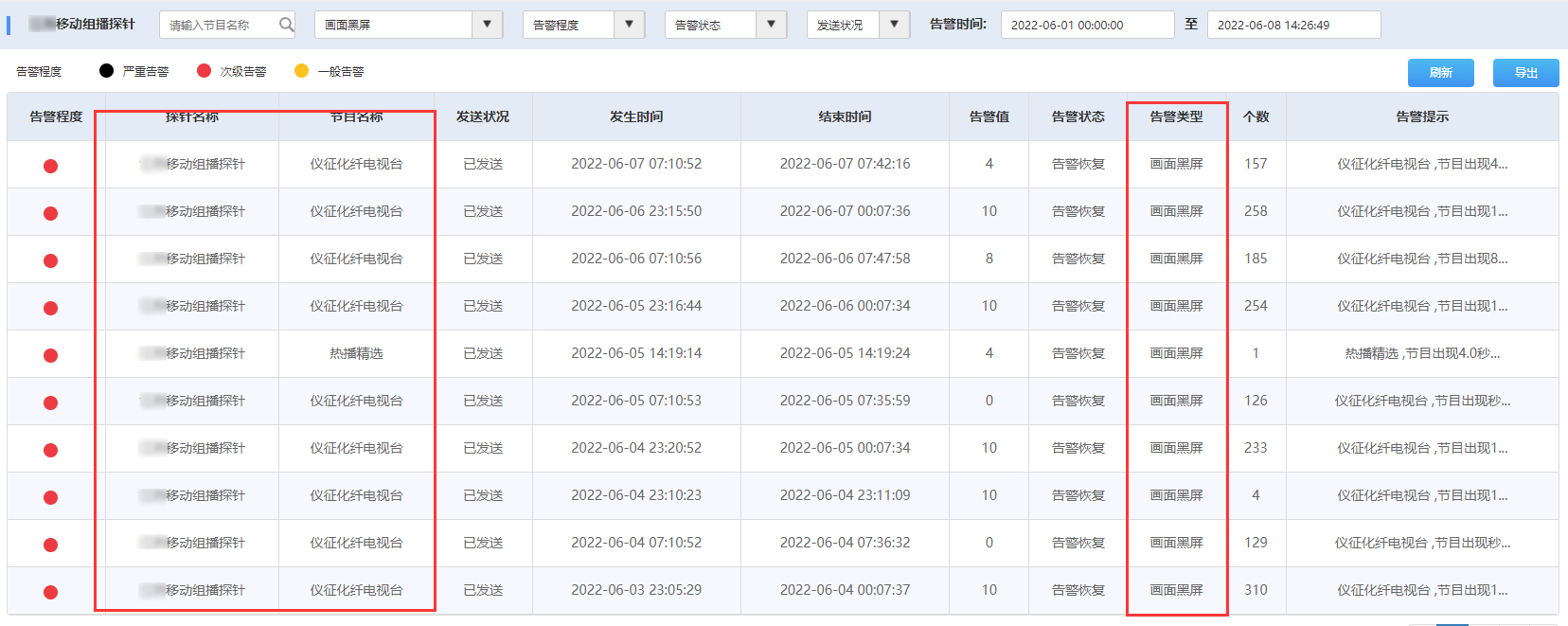
案例二:直播频道出现画面黑屏故障排查
故障现象:仪征化纤电视台、热播精选频道于2022-6-1至2022-6-7期间出现画面黑屏告警。

故障排查:通过点击下载和视频回放故障视频发现视频播放存在画面黑屏现象,经过排查,此故障是由于编码器故障导致的。

案例三:HLS直播m3u8不更新导致视频卡顿故障排查
故障现象:2022-6-1至2022-6-7期间CETV4标清4M、康巴卫视、陕西卫视高清4M等频道出现m3u8不更新告警,机顶盒播放这些频道存在卡顿现象。

故障排查:通过抓包发现m3u8文件和TS分片有不更新的现象,经进一步排查,发现故障是由于HLS切片服务器性能问题导致的。

案例四:HLS直播频道音频中断无声音故障排查
故障现象:CETV2标清4M频道于2022-06-05 02:48:03至2022-06-05 03:55:30期间出现音频中断告警,机顶盒播放该频道无声音。

故障排查:通过点击下载和视频回放故障视频发现视频播放存在音频中断无声现象。经过排查,此故障是由于编码器软件问题导致的。

案例五:HLS直播频道画面花屏马赛克故障排查
故障现象:咪咕2频道于2022-06-05 20:48:20出现画面马赛克告警。

故障排查:通过点击下载和视频回放故障视频发现视频播放存在画面花屏马赛克现象。经过排查,此故障是由于片源本身存在问题导致的。




